普通发票怎么开?手把手教你合法合规开具发票
普通发票开具全流程指南 在日常经营活动中,开具发票是每个企业和个体工商户都会遇到的基本业务,对于初次接触发票开具的新手来说,可能会感到一头雾水,下面我就以专业律师的视角,为您详细解析普通发票的正确开...
客户催着要发票,你急急忙忙打开开票系统,结果点来点去不是提示“税控盘异常”,商品编码选错”;或者更尴尬的是——客户说你开的发票抬头写错了,又得重开一遍。
别慌,这事儿我太熟了,作为一名执业多年的商事律师,每天打交道最多的就是合同、账款和发票,今天我就用最接地气的大白话,把“普通发票怎么开”这件事给你掰扯清楚,让你从“手忙脚乱”变成“行云流水”。
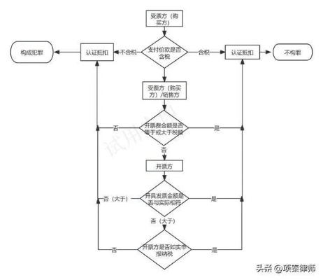
咱们常说的发票分两种:增值税专用发票和增值税普通发票(简称“普票”)。
如果你是小规模纳税人,或者你的客户不需要抵扣进项税(比如个人消费者、非一般纳税人单位),那你就开“普通发票”就够了。

它虽然不能让对方抵税,但它是你收入的“法律凭证”,也是税务稽查时最重要的证据之一,哪怕看起来简单,也不能马虎。
✅ 小贴士:新办企业现在基本都是“税务UKey + 免费开票软件”,不用再花几千块买设备了,省钱!
打开软件后,选择“开具发票” → “增值税普通发票”。
重点来了:
购买方信息必须真实准确!
尤其是企业客户,一定要问清楚:
❌ 常见错误:客户说“随便写个名字就行”,千万别信!一旦被税务抽查发现信息不符,这张发票可能被视为“不合规票据”,对方没法入账,你还得重开,耽误事还惹人烦。
这里最容易踩雷!
很多老板图省事,直接在“货物或应税劳务名称”里写“办公用品”“服务费”“材料款”……
大错特错!
根据国家税务总局规定,自2018年起,所有发票必须使用税收分类编码要具体到明细。
如果是服务类,也要写清楚,
📌 特别提醒:如果金额超过500元,建议附上销售清单(系统里可以开具“清单发票”),否则可能被认定为虚开发票风险!
最后一步看似简单,但最关键!
✅ 建议:所有开出的发票都做好台账登记,电子+纸质双备份,万一哪天税务来查,你能第一时间拿出来,底气十足。
我去年代理过一个案子,杭州一家小型设计公司给客户开了张1.2万元的“设计服务费”普票,内容只写了“服务费”,没写具体项目,也没用税收编码。
结果客户拿去报销时被财务退回,转头投诉到税务局。
税务上门一查,发现他们近半年开了十几张类似发票,全部不符合规定,最终认定为“未按规定开具发票”,依据《发票管理办法》处以3万元罚款,还被列入重点关注名单。
老板委屈地说:“我又没收钱跑路,干嘛罚我?”
我说:“发票不是收据,它是法律行为的一部分,你图省事,可法律不跟你讲情面。”
这个案子后来调解了,但教训深刻:合规,才是最小的成本。
《中华人民共和国发票管理办法》第二十二条
开具发票应当按照规定的时限、顺序、栏目,全部联次一次性如实开具,并加盖发票专用章。
国家税务总局公告2017年第16号
自2017年7月1日起,购买方为企业的,索取增值税普通发票时,应向销售方提供纳税人识别号或统一社会信用代码;销售方为其开具发票时,应填写购买方的纳税人识别号或统一社会信用代码。
关于税收分类编码的使用要求
所有发票必须选择正确的税收分类编码,商品名称不得笼统填写为“货物”“办公用品”等模糊项目。
很多人觉得,开张普通发票嘛,几分钟的事,何必这么较真?
可我要告诉你:每一张发票,都是你在商业世界里的“信用背书”。
它不仅是收款凭证,更是你履约的证明、纳税的依据、法律纠纷中的关键证据。
一个小小的疏忽,可能带来税务处罚、客户流失、甚至被怀疑偷税漏税。
请记住我的三点建议:
别等到税务局打电话才后悔,真正的专业,藏在细节里。
📌 最后送大家一句话:
发票虽小,责任重大;一笔一划,皆是承诺。
把开票这件“小事”做对,你的生意才能走得更稳、更远。
客户催着要发票,你急急忙忙打开开票系统,结果点来点去不是提示“税控盘异常”,商品编码选错”;或者更尴尬的是——...
点击复制推广网址:
下载海报: